Laboratorio di Motori a Combustione Interna

Il gruppo di ricerca sui motori a combustione interna e i sistemi propulsivi opera da oltre 50 anni presso l’Università di Genova. Le attività sviluppate riguardano principalmente vari aspetti dei motori a combustione interna alternativi (MCI), con l’obiettivo di migliorare le prestazioni, ridurre i consumi di combustibile ed contenere le emissioni inquinanti. Questi studi si rivolgono a diversi settori applicativi, tra cui in primo piano la trazione stradale e la propulsione navale.
Il gruppo conduce sia ricerche di tipo teorico che sperimentale. Quest’ultima si avvale di specifici apparati di prova, tra cui:

  • due motori monocilindrici CFR (Cooperative Fuel Research Engine), ad accensione comandata e Diesel;
  • un banco dinamometrico stazionario con freno elettrico;
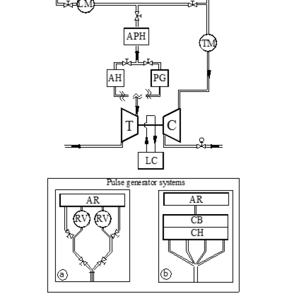
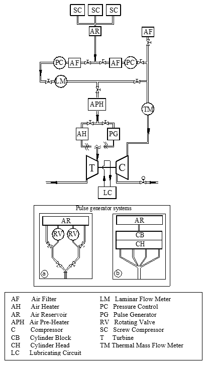
  • un banco prova per la sperimentazione su componenti di sistemi propulsivi.

L’attività di ricerca, condotta nell’ambito di progetti finanziati dall’Unione Europea, dal MIUR e da altri enti, nonché in collaborazione con aziende e centri di ricerca, è testimoniata dai lavori scientifici prodotti dal gruppo, pubblicati su riviste o presentati a congressi specialistici nazionali ed internazionali.

Tra le attività di ricerca sviluppate dal gruppo nel recente passato si ricordano in particolare gli studi teorici e sperimentali sulle seguenti tematiche:

  • Sovralimentazione dei motori automobilistici
  • Controllo dei MCI Diesel
  • Prestazioni di componenti del sistema di aspirazione e scarico di MCI automobilistici
  • analisi Well-to-Wheels/Wake per combustibili alternativi

L’attuale attività del gruppo di ricerca si concentra principalmente su tre aree:

  • Studi sperimentali su MCI ad accensione comandata e Diesel
  • analisi delle prestazioni di componenti di sistemi propulsivi e componenti del sistema di aspirazione e scarico di MCI automobilistici
  • modellizzazione delle emissioni allo scarico di motori a combustione interna per applicazioni automotive e navale

Sedi 

  • Scuola Politecnica, Dipartimento di Ingegneria Meccanica, Energetica, Gestionale e dei Trasporti, Sezione MASET, Via Montallegro 1, I - 16145 Genova, Italia

Ricercatori 

  • Silvia Marelli
  • Giorgio Zamboni
  • Vittorio Usai

Temi di ricerca 

  • combustibili alternativi per la decarbonizzazione dei trasporti
  • impatto ambientale di veicoli stradali nelle condizioni di reale utilizzazione
  • Indagini sperimentali e modellistiche su componenti di sistemi propulsivi

 

Ultimo aggiornamento